Zum Hauptinhalt springen Zur Suche springen Zum Menü springen

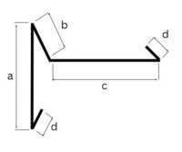
Ortgangblech



Artikel 1 - 2 von 2